ホーム > よくあるご質問 VS-5Fシリーズ(コントローラ) > よくあるご質問 VS-5Fシリーズ(コントローラ) 機能・用語
Q&A番号:0120 公開日:2025年03月25日
![]()
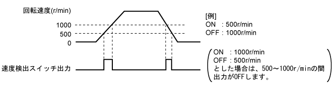
速度検出スイッチ出力機能とは何ですか?
![]()
機械(アブソコーダ検出器)が、設定した回転速度に達するとON/OFFするスイッチ出力です。
機械の動作を検出して停止確認や異常検出を行う場合に便利です。
この機能を使用する場合は、出力ピンを共用しているため“タイミングパルス出力機能”は使用できません。
対象機種:
・VS-5Fシリーズ全機種